资讯 
了解行业以及华进新闻资讯。
今日油条~法院见!
2020-10-16
“我...我从未见过如此厚颜之徒。”
恐怕是近期最能表达“今日头条”内心的一句话了。
因为,有这样一家油条店不仅在装修风格、商标、logo设计、海报上和“今日头条”极度相似,就连宣传语都是浓浓的“头条风”,简直模仿到令人发指。


北京市字节跳动科技有限公司以商标权权属、侵权纠纷为由,对河南今日油条餐饮管理有限公司、河南烧烤者食品有限公司及郑州市金水区今日油条早餐店提起了民事诉讼,并申请了诉前行为保全。广州知识产权法院于9月11日公开开庭审理了此案。

图片来源:企查查
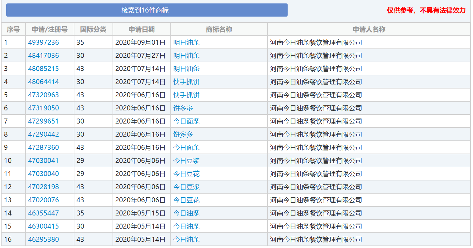
河南今日油条餐饮管理有限公司成立于2020年5月13日,而据中国商标网显示,其在成立的第二天,便在第30类食品、第43类餐饮服务上申请了“今日油条”商标。截止至2020年9月1日,河南今日油条餐饮管理有限公司陆续申请了十六件“特别”的商标,商标名称分别为“今日油条”、“今日豆花”、“今日豆浆”、“今日面条”、“明日油条”,此外,还有“饼多多”和“快手抓饼”。

除此以外,通过中国商标网查询到,一家与被告”河南烧烤者食品有限公司“有密切关联的企业,“河南烧烤者餐饮管理有限公司“,于2020年8月6日还申请了以下商标:

图片来源:中国商标网
“今日头条”对“今日油条”的诉讼仍有待法院审理裁判。小编会持续关注该案件的进展。
>>> 相关法条科普
侵犯他人商标权的法条依据——
《中华人民共和国商标法》第五十七条 有下列行为之一的,均属侵犯注册商标专用权:
(一)未经商标注册人的许可,在同一种商品上使用与其注册商标相同的商标的;
(二)未经商标注册人的许可,在同一种商品上使用与其注册商标近似的商标,或者在类似商品上使用与其注册商标相同或近似的商标,容易导致混淆的;
(三)销售侵犯注册商标专用权的商品的;
(四)伪造、擅自制造他人注册商标标识或者销售伪造、擅自制造的注册商标标识的;
(五)未经商标注册人同意,更换其注册商标并将该更换商标的商品又投入市场的;
(六)故意为侵犯他人商标专用权行为提供便利条件,帮助他人实施侵犯商标专用权行为的;
(七)给他人的注册商标专用权造成其他损害的。
混淆行为的法条依据——
《反不正当竞争法》第六条 经营者不得实施下列混淆行为,引人误认为是他人商品或者与他人存在特定联系:
(一)擅自使用与他人有一定影响的商品名称、包装、装潢等相同或者近似的标识;
(二)擅自使用他人有一定影响的企业名称(包括简称、字号等)、社会组织名称(包括简称等)、姓名(包括笔名、艺名、译名等);
(三)擅自使用他人有一定影响的域名主体部分、网站名称、网页等;
(四)其他足以引人误认为是他人商品或者与他人存在特定联系的混淆行为。
400-883-1990
华进官方微信公众号
Copyright © 2021 电子游戏麻将胡了app.All Rights Reserved.粤ICP备12081038号