电子游戏麻将胡了app 400-883-1990
电子游戏麻将胡了app

资讯 电子游戏麻将胡了app

了解行业以及华进新闻资讯。

“网红”的你,请牢牢抓紧你的名字商标权!

发布于:

2020-03-12

作者:秦慧芳 华进商标事业部

【网络红人】

简称“网红”,如我们比较熟悉的“搞笑博主”papi酱、“美食生活家”李子柒、“口红一哥”李佳琦、“淘宝一姐”薇娅、“无用爱迪生”手工耿等。


网红不仅能聚拢大批量粉丝、流量,随之亦会带来巨大商业利益。网红名字作为网红的“标签”,必然最先、最广被公众认知。因此,目前国内恶意抢注商标的魔爪正渐渐伸向网红使用的名字,网红名字商标化背后隐藏的问题也渐显端倪。


下面让我们一起了解网红名字商标化的现状,以及该如何正确保护网红名字商标

希望各位网络红人能成为“网红”界“最具商标意识”的“清流”。

*注:网红的名字可能为其真名,但亦可能为其艺名,我们在此将网红于网络平台被公众所熟知的“真名”或“艺名”统称为“名字”。



网红名字藏商机

             背后问题现端倪



电子游戏麻将胡了app
网红名字遭抢注

后知后觉难正名


我们每个人都有名字,这是将我们自己与他人区分开来的重要符号,正如商标是用来区分商品或者服务来源一样。而“网红”本身自带流量,由流量带来的商业价值可多方面深挖,网红名字的商标化便是其一。因此,部分有心人就纷纷瞄准网红名字商标,进行大量抢注,均欲利用“名人效应”谋求短期利益。

【案例】

如“papi”商标在papi酱“火起来”初期,就已经被各商家在各类商品或服务项上进行了抢注。待papi酱自己想要申请注册商标时,才发现已被人捷足先登,导致自己申请注册的商标被驳回。


papi酱对被驳回商标提起了复审申请,但仍未获准注册,后将商评委诉至北京知识产权法院,法院认为papi酱一方提交的证据不足以证明其申请注册的“papi酱”商标经使用在指定使用商品/服务上与他人在先商标形成了可区分的显著特征,彼此仍构成近似商标,判决驳回其诉讼请求。 


电子游戏麻将胡了app

“papi酱”商标被抢注


因为《商标法》遵循“申请在先”原则papi酱未进行名字商标布局而被他人抢注,导致自身名字商标因他人在先标被驳回,提起的驳回复审、行政诉讼,所获结果不尽人意。

其实,即使像“李子柒”、“李佳琦”、“薇娅”等有提前意识到个人商标保护问题,但未进行全类别的申请注册,难以避免某些有心人钻空子,在剩下的商品或服务类别上对其名字进行抢注。

电子游戏麻将胡了app
经纪公司“揽大权”
一别两宽闹不欢

大多网红都会签约公司以寻求更好的推广平台和资源,比如李子柒就签约了“微念科技”——一个通过孵化与深度整合KOL,跨界新消费品牌的公司。该公司孵化的KOL还包括郭富城妻子“天王嫂”方媛Moka、时尚美妆博主“卧蚕阿姨”、人气美少女“林小宅”等KOL博主。

电子游戏麻将胡了app

“微念科技”早期就对其旗下李子柒的名字商标进行了申请注册,“李子柒”名字商标专用权为“微念科技”所有,并非李子柒本人。倘若李子柒未与“微念科技”在私下明确名字商标专用权归属,也可能存在一些隐患。

知名明星“邓紫棋”及“SHE” 就曾因其艺名商标专用权权属问题与其所在经纪公司不欢而散,甚至引起了舆论之战。目前上述纠纷还没有一个确定结果,背后的很多事实尚无法判断。虽然明星的影响力更广,但许多网红在网络上的知名度并不亚于明星。

可见,明星艺名商标专用权与网红名字商标专用权归属于其签约的经纪公司所有,均可能会带来名字商标专用权权属之争等问题。
 

注册商标要超前

           办法总比问题多


 
电子游戏麻将胡了app
市场未动  商标先行

大多网红在成名初期,都是只专注于吸引粉丝、流量,而忽视自身名字的商标申请注册,但实际上申请商标的成本低,一旦成名,商标带来的价值却极大如果网红自身不及早进行商标申请维护,自然会被许多“嗅觉灵敏”的商家钻空子,抢先注册。因此,网红维护自身名字商标权益,提前做好名字商标的申请注册布局尤其重要,现在多一事,以后就能少一事。

另,正如张月梅老师所说:“脱离商标谈品牌就是耍流氓”。若作为网红的您,有打造自身品牌的想法,就更需要提早申请注册名字商标。因为品牌是企业的生命,而商标是品牌的法律基础,更是品牌无形的保护手。

因此,想要打造自身品牌IP,一定要提前进行名字商标的注册,特别是与自身推广相关的核心类别,一定要提早注册,防止他人恶意抢注。

电子游戏麻将胡了app
检索商标  有的放矢

在商标检索之前,先明确自己所在领域对应的商品或服务类别,根据类别的重要程度有针对性地进行检索。针对大部分网红来说,都会侧重在以下商品或服务项目上进行检索及申请注册:

核心

类别

第35类(广告、商业经营)

第41类(娱乐、文体)

与发广告、直播、代言、视频制作相关

重要

类别

第9类(计算机、计算机软件)

第38类(电信)

与推出APP、发唱片、信息互动相关

相关

类别

第3类(护肤化妆品)

第25类(服装、鞋)

与美妆、服饰相关


不过上表所列类别主要是针对大多网络红人而言,在进行商标检索时,亦应根据自身实际情况进行,比如“手工耿”主要制作金属类手工品,将制作过程拍摄为短视频并将部分手工品于淘宝店进行售卖,那么他除了要关注上述所列类别之外,还要关注第40类(材料处理)、第14类(金属制品等)、第28类(游戏器具和玩具)等商品类别上的检索

在明晰自身所需重点关注的商品或服务类别之后,就可针对该些类别进行名字商标检索,了解在先标情况,为后续名字商标注册打好基础。鉴于商标检索事宜较专业,您可寻找专业的商标代理机构为您代劳。
电子游戏麻将胡了app

申请注册商标前的检索至关重要,不仅可以节省成本,还可以减少盲目性,有针对地对名字商标进行申请注册。

电子游戏麻将胡了app
明确权属  远离纠纷

提交商标注册申请前,考虑清楚以何种主体进行商标申请注册(以个人名义VS以公司名义的利弊,见下表)。由于个人名义或公司等组织名义申请注册商标各有利弊,按照“两害相权取其轻,两利相权取其重”的原则,根据自身实际情况进行恰当选择。

电子游戏麻将胡了app


在此特别强调,当选择让自身无控股关系的签约公司作为申请人对自身名字进行申请注册商标前,可与公司协商明确商标注册成功后的商标专用权归属,明确自身对自己名字商标专用权情况等等,避免今后解约时,因名字商标权属问题引起不必要纠纷。

电子游戏麻将胡了app
积极维权  扫清障碍

若发现他人抢注自身名字商标要及时维权,切勿错过最佳时期。《商标法》对恶意抢注商标行为打击力度非常大,在抢注商标的各阶段均为被侵权人提供了救济方式。

电子游戏麻将胡了app

如“手工耿”即对抢注商标均及时提起了异议申请:

电子游戏麻将胡了app
 
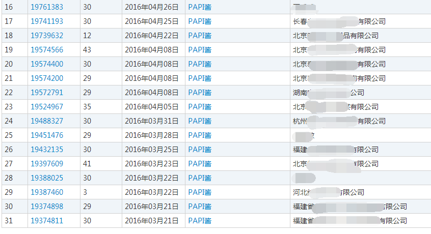
“papi酱”对部分抢注商标提起了无效宣告,部分抢注商标被予以无效宣告:

电子游戏麻将胡了app
*截取自第19401760号“PAPI”商标无效宣告请求裁定书

倘若您不服国家知识产权局作出的裁决,还可以向人民法院提起行政诉讼。因此,当您发现自身名字被他人抢注时,一定要拿起法律武器,及时为自己的正当权益扫清障碍。

电子游戏麻将胡了app
持续使用  实时监测

“不以使用为目的注册商标亦是耍流氓”,在名字商标注册之后,也要积极进行实际使用或者许可他人使用,可以在淘宝店售卖标识有名字商标的周边、在宣传海报上印上名字商标标识等,如李子柒、手工耿等均有自己的淘宝网店,并在店内售有标识自己名字商标的商品。

持续使用名字商标不仅可以维系品牌的生命力,亦可以在被他人抢注商标、提起异议、撤销或无效宣告申请时,能够理直气壮地拿出实际使用证据与对方对峙。

另外,也要关注自身名字商标的状态,时刻对与自身名字相关的核心商标、核心类别进行监测,对那些“漏网之鱼”进行追捕,将恶意抢注的商标扼杀在摇篮里。对于商标监测事宜亦可委托专业商标代理机构出具监测报告,实时监测抢注商标的动向,及时作出处理。

后记

成名不易,且行且珍惜。

希望各位网络红人对自身名字商标的保护一定要有超前意识,提前做好名字商标的布局,积极维权,避免事后麻烦。

借此,奉劝欲意抢注他人名字商标的投机者,不要一味企图以“名人效应”作为打造品牌的捷径。“人红是非多”,某个“红人”一旦出现负面新闻,重则可致依附于名字商标上的商誉付之一炬。因此,与其将品牌命运交之于某人身上,还不如自己踏踏实实、诚信经营来得实在。

秦慧芳

华进商标事业部

知识产权法务

拥有扎实的知识产权理论基础,熟悉处理各种商标驳回复审、异议、无效宣告等商标行政授权确权案件,为客户提供不同类型案件法律意见。目前已代理过贪玩、恒大、日立等知名企业的商标争议类案件,熟悉各类商标授权确权案件的办案流程、法律规定、司法裁判观点以及文书写作技巧,能够从多种角度为客户提供全面的商标保护建议,并提供全方位的商标监测服务。



电子游戏麻将胡了app

华进官方微信公众号

Copyright © 2021 电子游戏麻将胡了app.All Rights Reserved.粤ICP备12081038号